QBY系列气动隔膜泵是一种新型输送机械,是目前国内最新颖的一种泵类。采用空气压缩机压缩空气为动力源,对于各种腐蚀性液体,带颗粒的液体,高粘度、易挥发、易燃、剧毒的液体,均能予以抽光吸尽。其性能参数与WLLDENPVMPS、MARIOWPUMPS相近.本厂目前已形成系列化生产,共有八种规格直径:¢10mm(3/8")、¢15mm(1/2")、¢25mm(1")、¢40mm( 1 1/2")、¢50mm(2")、¢65mm( 2 1/2")、¢80mm(3")、¢100mm(4")。四种材质、铝合金、铸铁、不锈钢。QBY系列气动隔膜泵根据不同液体介质分别采用丁晴橡胶、氯丁橡胶、氟橡胶、聚四氟乙烯(F46)。以满足不同用户的需要。该隔膜泵自投产以来,已被国内多家石油、化工、电子、陶瓷、纺织、油漆、制药机械系统单位采用,安置在种特殊场合,用来抽送各种常规泵不能抽吸的介质,且替代齿轮泵的理想产品,均取的了满意的效果。QBY1系列气动隔膜泵是QBY系列气动隔膜泵的大类隔膜泵,主要特征是泵的出口在侧方。以下为QBY2-25/40不锈钢气动隔膜泵的详细介绍:
在泵的两个对称工作腔中(A)和(B)中各装有一块隔膜,由中心连杆将其连成一体。压缩空气从泵的进气口进入配气阀,通过配气机构将压缩空气引入其中一腔,推动腔中隔膜运动,而另一腔气体排出。一旦达到行程终点,配气机构自动将压缩空气引入另一工作腔,推动隔膜朝相反方向运动,从而使两个隔膜连续同步地往复运动。
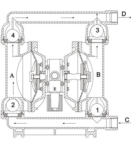
在图1示中压缩空气由(E)进入配气阀,使膜片向右运动,则(A)室的吸力使介质由(C)入口流入,推开球阀(2)进入(A)室,球阀(4)则因吸入而闭锁。同时球阀(1)闭锁,防止回流,就这样循环往复使介质不断从(C)入口吸入,(D)口排出。

图1
QBY气动隔膜泵既能抽送流动的液体,又能输送 一些不易流动的介质,具有自吸泵、潜水泵、屏蔽泵、泥浆泵和杂质泵等输送机械的许多优点。
1、不需灌引水,吸程最高可达5m(一般出厂为1m, 请在订货时说明).最大扬程达70m.出口压力≥7bar。
2、流动宽敞,通过性能好.允许通过最大颗粒直径达10mm。抽送泥浆、杂质时,对泵磨损甚微;
3、扬程、流量可通过气阀开度实现无级调节(气压调节在1-7 bar之间):
4、该泵无旋转部件,没有轴封,隔膜j|等抽送的介质与泵的运动部件、工件介质完全隔开,所输送的介质不会向外泄漏。所以抽送有毒、易发挥或腐蚀性介质时,不会造成环境污染和危害人身安全;
5、不必用电.在易燃、易爆场所使用安全可靠;
6、可以浸没在介质中工作:
7、使用方便、工作可靠、开停只需简单地打开和关闭气体阀门.即使由于意外情况而长时间无介质运行或突然停机泵也不会因此而损坏.一旦超负荷,泵会自地动停机,具有自我保护性能,当负荷恢复正常后,又能自动启动运行;
8、结构简单、易损件少,该泵结构简单,安装、维修方便,泵输送的介质不会接触到配气阀,联杆等运动部件,不象其他类型的泵因转子、活塞、齿轮、叶片等部件的磨损而使性能逐步下降:
9、可输送较粘的液体(粘度在1万厘泊以下):
设计制造:企业标准
公称通径:25mm,40mm
最大流量:100L/min, 140L/min;
出口压力:0.7MPa;
最大吸程:5m,一般为1-2m;
最大通过颗粒:2.5mm;4.5mm;
最大空气消耗量:600L/min;是指0.7MPa气压时的体积;
泵体材质:铸铁;
隔膜材质:氯丁橡胶、丁青橡胶、乙丙橡胶、四氟橡胶、氟橡胶; |